Попри проблеми з виробництвом процесорів Intel Panther Lake, підготовка до їхнього релізу з кожним днем набирає обертів. Офіційно компанія планує випустити нове покоління мобільних чипів ближче до кінця цього року, а по-справжньому масовими вони стануть у першій половині 2026-го. Партнери Intel тим часом активно готуються до цієї події, і в Мережі вже доступні подробиці про перші платформи на базі CPU Panther Lake.
Цікаво, що в цьому випадку йдеться не про ноутбуки, а про материнські плати для вбудованих систем. Такі рішення встигли анонсувати компанії DFI та ADlink. Перша підготувала системну плату формату Mini-ITX з розпаяним CPU Panther Lake, а друга застосувала ці процесори в нових компактних платах для blade-систем.
Mini-ITX плата від DFI загалом має цілком звичний дизайн. Для неї заявлена підтримка 25-ватних чипів Panther Lake, двох модулів оперативної пам’яті DDR5 зі швидкістю 6400 або 7200 МТ/с, три 2,5‑гігабітних Ethernet, роз’єми M.2 для NVMe-накопичувача і різноманітних бездротових модулів, а також можливість виведення зображення на чотири дисплеї.
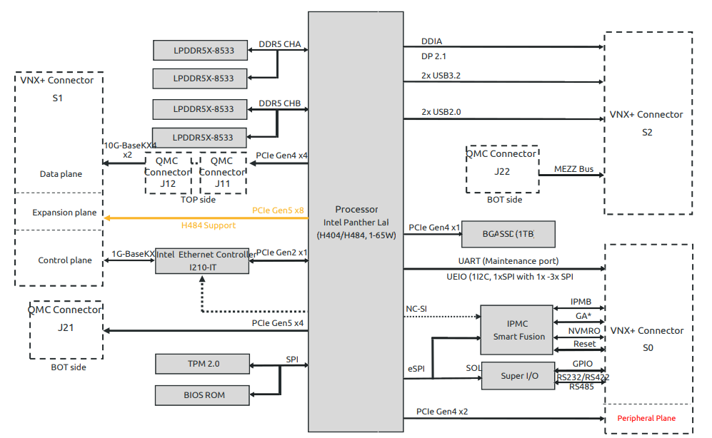
Водночас ADlink інтегрувала на вельми компактній платі всі головні елементи платформи, включно з самим процесором Panther Lake, 16 або 32 ГБ оперативної пам’яті LPDDR5X-8533 і твердотілим накопичувачем об’ємом 1 ТБ з інтерфейсом PCIe 4.0 x1. До того ж компанія розкрила деякі характеристики CPU. Відомо, що в цій платі будуть використовуватися 4‑ядерні (4P+0E) або 12-ядерні (4P+8E) процесори з чотирьохядерною графікою Xe3.
Джерела:
VideoCardz
ADlink




