В октябре Intel должна представить процессоры Core 12-го поколения (Alder Lake) для настольных и мобильных систем. Отличительной чертой новых CPU является структура с разнородными ядрами. Данный подход корпорация уже опробовала в ограниченной серии чипов Lakefield для ноутбуков. Ходят слухи, что операционная система Windows 11 будет включать новый планировщик задач для таких неоднородных CPU.

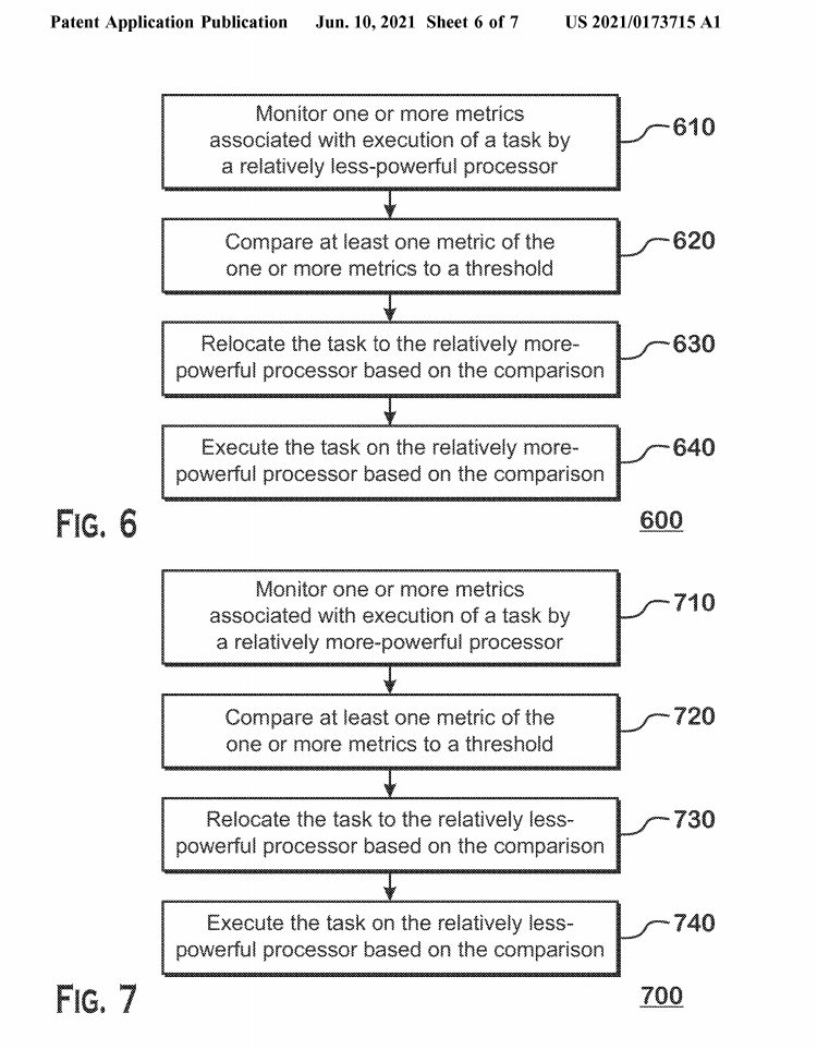
Очевидно, над концепцией больших и малых ядер работают в AMD. Пару дней назад была обнаружена патентная заявка AMD на «метод передачи задач между гетерогенными процессорами», впервые поданная в декабре 2019 года. Приложение охватывает наиболее важную инженерную проблему неоднородных вычислений, а именно, как планировать или передавать задачи между различными типами ядер.


AMD описывает, что ЦП будет перемещать задачи между ядрами на основе одного или нескольких показателей. К ним относятся время выполнения задачи, требование использования памяти в состоянии максимальной производительности, прямой доступ к памяти или метрика среднего порогового значения состояния простоя. Если какой-либо из таких (и других, перечисленных в патенте) показателей соответствует критериям, задача затем перемещается с одного ядра процессора на другое.


На данный момент считается, что серия гибридных процессоров Ryzen 8000 (Strix Point) станет первой, в которой будет реализована гетерогенная структура с 3-нм ядрами Zen 5 и 5-нм/3-нм Zen 4D в одном кристалле или на разных чиплетах под одной крышкой. По слухам, настольный вариант под кодовым названием Granite Ridge останется на больших ядрах Zen 5.

К моменту выхода гипотетических AMD Ryzen 8000 (Strix Point) с разнородными ядрами им придется конкурировать не с Intel Alder Lake, а с их наследниками Raptor Lake или более поздними сериями.
Источник:
Videocardz