Отличительной чертой мобильных процессоров Intel Lakefield стало наличие разнородных x86-ядер, для управления которыми чипмейкер применил так называемую «гибридную технологию» (Hybrid Technology). Во многом этот подход напоминает концепцию big.LITTLE, используемую в однокристальных системах ARM c 2011 года. Чипмейкер видит большой потенциал в Hybrid Technology и планирует использовать эту технологию как в мобильных, так и настольных CPU, начиная с линейки Alder Lake-S.

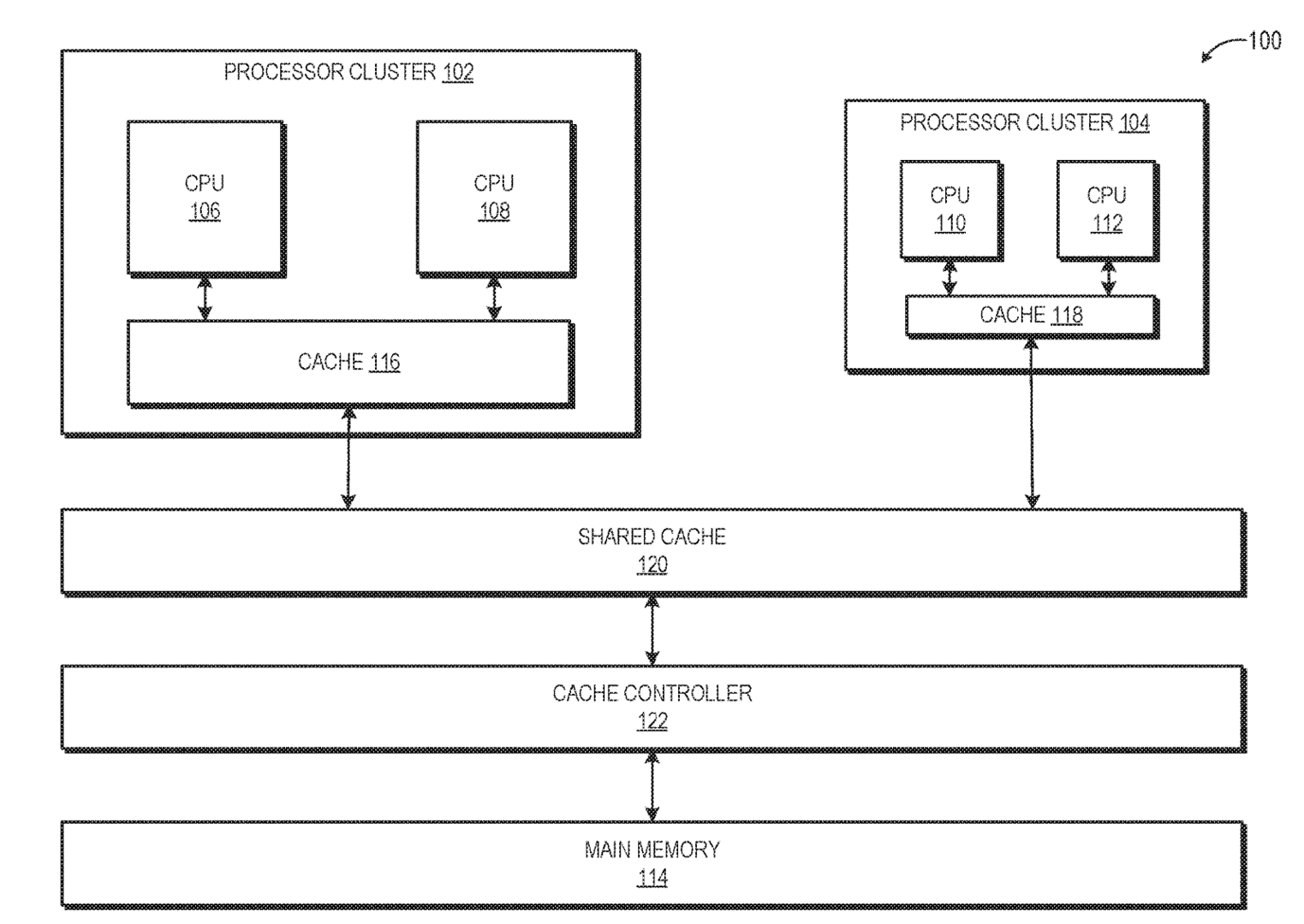
Разумеется, всё это не осталось без внимания команды Лизы Су. В AMD тоже работают над собственным аналогом big.LITTLE для x86-процессоров, что подтверждает свежий патент. В нём чипмейкер описывает метод распределения нагрузки между высокопроизводительными и энергоэффективными ядрами. Они имеют схожий набор инструкций, но, как и в случае Intel Alder Lake-S, самые «прожорливые» вычисления зарезервированы для больших ядер.
В настоящее время трудно сказать, когда и в каких процессорах AMD будет реализована описанная в патенте технология. Исследования зачастую проводятся во многих областях, но не обязательно воплощаются в продукте, готовом к серийному производству. С другой стороны, если задумка Intel для чипов Alder Lake-S оправдает себя, то «красным» наверняка придётся обратить на неё внимание.
