Графические процессоры RDNA 3-го поколения, как подтвердил один из инженеров AMD, будут сочетать 5- и 6-нм кристаллы. В этом же направлении сейчас трудятся и конкуренты. Свежий патент Intel посвящён многокристальным графическим ядрам, которые должны лечь в основу будущих поколений 3D-ускорителей Arc.

Intel Ponte Vecchio
Справедливо отметить, что Intel уже имеет опыт в разработке процессоров с многочиповой компоновкой. К примеру, в недавно выпущенном ускорителе Ponte Vecchio для дата-центров и суперкомпьютеров компания использовала сборку из 47 отдельных микросхем, а на этот год она запланировала релиз серверных чипов Xeon Scalable (Sapphire Rapids), у которых под крышкой находятся четыре отдельных кристалла с x86-ядрами и опциональный буфер HBM2E.
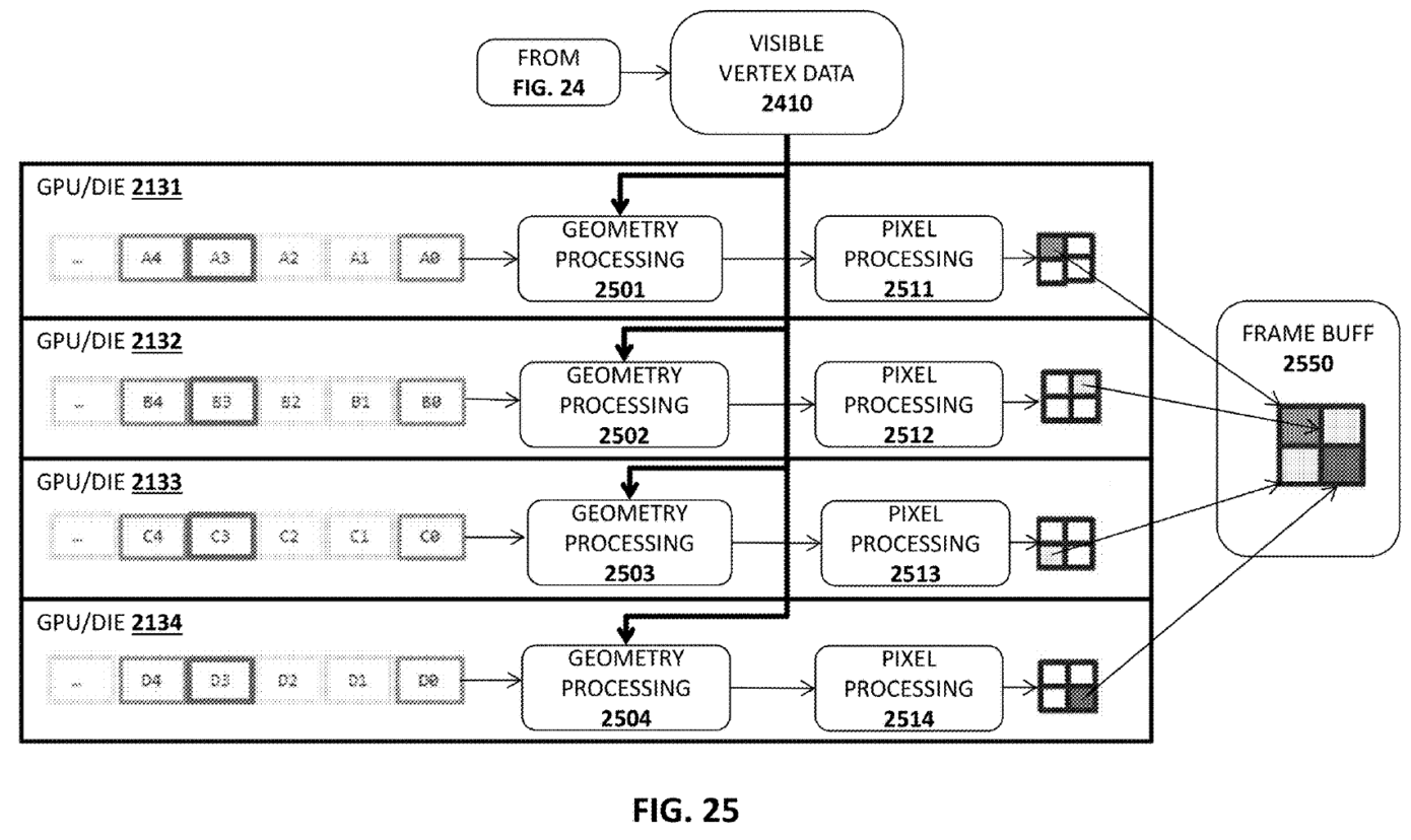
Обнародованный патент затрагивает «устройство рендеринга на основе положения и метод для обработки графики с несколькими кристаллами/графическими процессорами». В нём Intel предлагает решение для интеграции нескольких кремниевых кристаллов в единый блок, способный работать над обработкой одного кадра. Многочиповую компоновку Intel рассматривает как вынужденную меру, призванную решить проблемы, связанные с чрезмерным ростом монолитных GPU.
В патенте Intel описывает связку одного главного GPU-кристалла, который отвечает за начальную обработку 3D-сцены и распределение задач, а также нескольких дочерних кристаллов. Чипмейкер предлагает использовать рендеринг в шахматном порядке, распределив участки изображения между дочерними GPU. На последнем этапе главный кристалл формирует на основе их трудов финальный кадр.
Такой подход должен обеспечить более высокую производительность, чем технологии мульти-GPU связок, вроде Nvidia SLI и AMD CrossFire. Правда, оценить его быстродействие можно будет только после реализации в «железе». В обозримом будущем графические ускорители Intel Arc будут использовать монолитные GPU.
Источник:
WCCFTech


