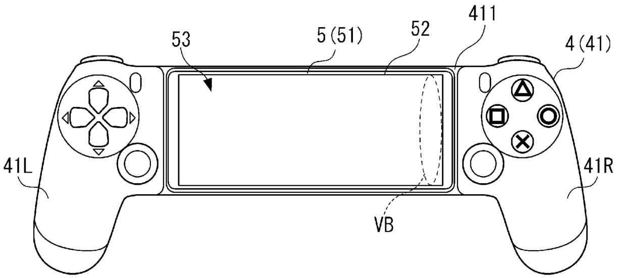
Японское подразделение Sony Interactive Entertainment на этой неделе опубликовало патент на игровой контроллер для мобильных устройств. На первый взгляд он сильно похож на геймпады серии DualShock, а особенно на четвертую версию для PS4.

DualShock 3
Посередине прототипа находится раздвижная область для установки внутрь смартфона. В описании перечислены две рукоятки для захвата левой и правой рукой. Что интересно, в этом контроллере отсутствует механизм, призванный определять направление и величину наклона рукояток. В таком случае реализация данной функции ляжет на гироскоп смартфона.

Предполагается, что контроллер можно будет использовать вместе со смартфоном для игры на PlayStation через Remote Play или через облачные сервисы. Кроме того, планируется выпуск популярных франшиз Sony на смартфонах или других мобильных устройствах.
Патент поступил на фоне нового витка интереса к мобильному направлению со стороны Sony. В октябре компания Sony Interactive Entertainment назначила бывшего руководителя Apple Arcade Никола Себастьяни (Nicola Sebastiani) на должность главы подразделения Mobile Operations.

А недавно руководитель SIE Джим Райан (Jim Ryan) подтвердил, что компания планирует перенести некоторые из своих «культовых игр» на мобильные устройства в течение короткого времени. Например, гоночная игра Wipeout Rush выйдет на iOS и Android в начале 2022 года. Она является новой частью знаменитой серии, берущей свой отсчет со времен первой PlayStation.
На фоне растущей популярности игр для смартфонов, Sony не хочет оставаться в стороне. Компания имеет опыт создания успешной портативной консоли PSP, которая была продана тиражом более 80 млн штук. К сожалению, следующая консоль PlayStation Vita не оправдала возложенных на нее ожиданий. Очевидно, что разработка или перенос игр на смартфоны выглядит менее рисковым делом, нежели создание новой портативной приставки.
Источник:
VGS