Буквально в последние дни 2020 года AMD подала заявку в Патентное ведомство США, в котором описала идею создания графического процессора с чиплетной структурой. Для этого инженерам компании предстоит решить ряд проблем, характерных для такой конструкции.

AMD

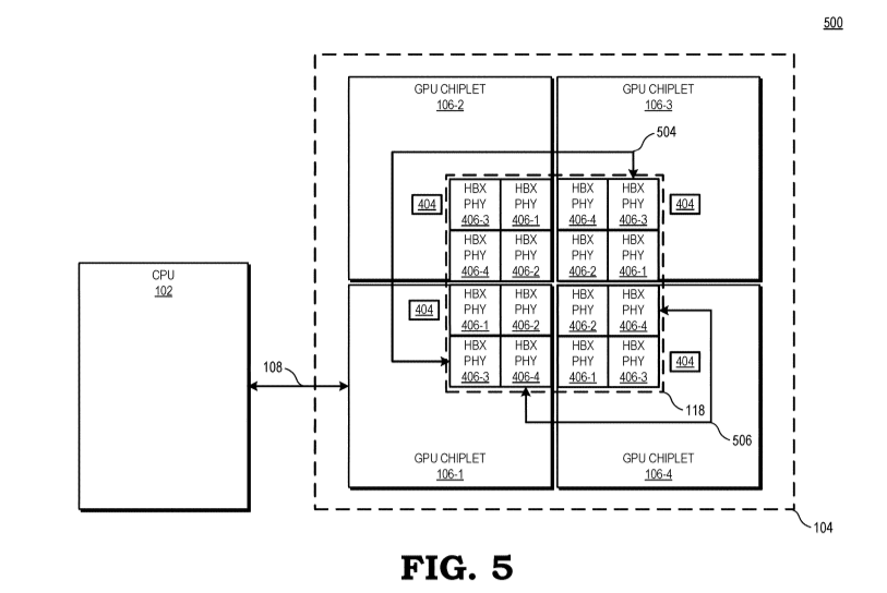
Стандартные методики программирования GPU малоэффективны для работы с несколькими графическими процессорами (что в принципе отражает почти полный отказ от графических связок Crossfire/SLI), так как трудно распределить параллелизм между несколькими активными кристаллами в системе. В документе описывается один из возможных способов синхронизации содержимого памяти между несколькими наборами микросхем GPU.

Чиплет GPU

AMD считает, что таких проблем можно было бы избежать, внедрив «пассивные перекрестные каналы связи с высокой пропускной способностью». Первый набор микросхем графического процессора будет напрямую «коммуникативно связан» с центральным процессором, в то время как каждый из чиплетов в массиве будет связан с первым GPU через пассивную перекрестную связь.

Чиплет GPU

В этом смысле AMD рассматривает пассивную перекрестную связь как своеобразные провода между чиплетами, размещенные на подложке с одним или несколькими кремниевыми слоями interposer. Такая группа графических процессоров будет работать как система на чипе, которая разделена на разные функциональные микросхемы.

Чиплет GPU

AMD публично не подтвердила, что работает над чиплетным дизайном графического процессора. Однако ходили слухи, что архитектура RDNA3 может быть реализована именно в многочиповых GPU. Как мы знаем, компания имеет большой опыт работы с такими конструкциями, особенно в актуальных процессорах Ryzen и EPYC.

Чиплет GPU

Кроме того, над аналогичными технологиями работают Intel и Nvidia. Первая уже подтвердила свои ускорители Xe-HP с многокристальным дизайном, дебют которых ожидается в этом году. Если верить слухам, то в будущем Nvidia представит графический чип MCM с архитектурой Hopper.