В начале недели Intel опубликовала заявку на патент №10510669 в Бюро по регистрации патентов и торговых марок США (USPTO) под названием «Multi-chip package and method of providing die-to-die interconnects in same». В ней описывается технология создания многочиповых модулей и нюансы соединения различных кристаллов в единое целое.

Основая идея патента сводится к использованию уже известных кремниевых мостов (Embedded Multi-die Interconnect Bridge) в качестве основных соединительных компонентов.

Embedded Multi-die Interconnect Bridge

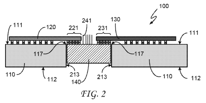
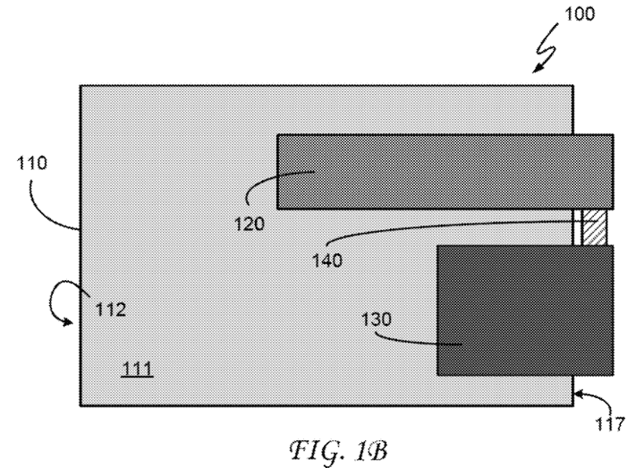
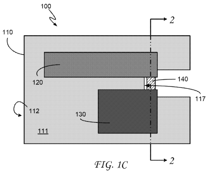
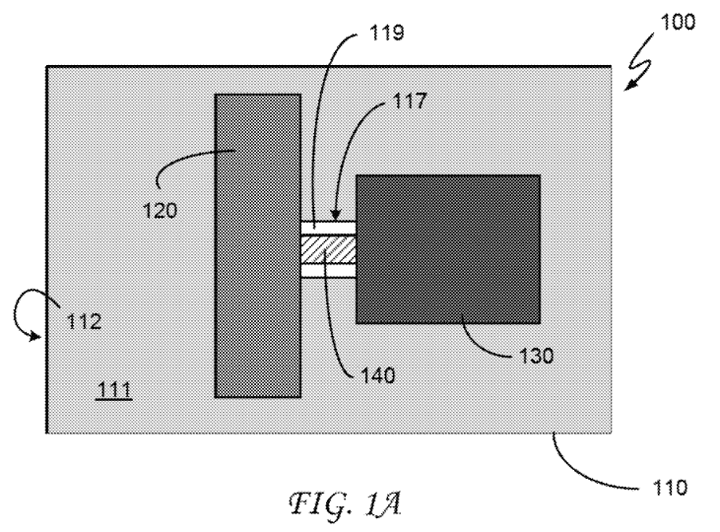
Многочиповый модуль включает в себя подложку (100), имеющую три рабочие стороны (111, 112 и 213). Первый (120) и второй (130) кристаллы крепятся к одной стороне подложки, а соединительный кремниевый мост (140) к третьей стороне подложки и к обоим кристаллам. Мост создает связь между первым и вторым кристаллами. Он может располагаться различными способами рядом с подложкой, в специальной полости или между подложкой и кристаллом.

Embedded Multi-die Interconnect Bridge

По сравнению с технологией кремниевой подложки Interposer, кремниевые мосты обладают рядом преимуществ. Они намного меньше, проще и дешевле, чем Interposer, не требуют сложной и ненадежной технологии сквозных отверстий в кремнии (Through Silicon Vias) и, наконец, обеспечивают более высокую пропускную способность.

Embedded Multi-die Interconnect Bridge

В некоторых вариантах реализации мост может быть пассивным компонентом, то есть только обеспечивать высокоскоростное соединение между кристаллами. В других случаях мост содержит активный кристалл, имеющий свои собственные функции и возможности в дополнение к основной функции мостового соединения.

Embedded Multi-die Interconnect Bridge

Многочиповые модули на основе кремниевых мостов позволят объединять различные электронные компоненты в одном изделии. Речь идет о чипах CPU, GPU, различных типов памяти, контроллеров периферии, программируемых вентильных матриц FPGA и других микросхемах. Не важен размер самих чипов или размер технологии их изготовления. Особую выгоду от кремниевых мостов могут получить одноплатные компьютеры и другая миниатюрная электроника, поскольку все компоненты могут быть собраны на единой унифицированной печатной плате, что упрощает конструкцию.

Embedded Multi-die Interconnect Bridge

Ознакомиться с патентом можно на сайте USPTO.