На днях в общем доступе была опубликована заявка на патент компании AMD, которую она подала в декабре 2017 года в Бюро по регистрации патентов и торговых марок США (USPTO). В документе описывается гибридная система, которая позволяет осуществлять трассировку лучей в реальном времени с использованием различных программных и аппаратных методов, а не полагаться только на одно решение. Компания заявила, что такой подход должен помочь преодолеть недостатки, связанные с предыдущими попытками внедрения трассировки лучей в массовые продукты.

В описании изобретения говорится, что программные решения «очень энергоемки и их трудно масштабировать до более высоких уровней производительности без значительного увеличения мощности чипа». Также, включение трассировки лучей с помощью программного обеспечения «может существенно снизить производительность по сравнению с теоретически возможной».
В свою очередь, специалисты AMD также считают плохой идеей использование исключительно аппаратных способов ускорения трассировки. Эти решения «страдают от недостатка программной гибкости, так как конвейер трассировки лучей привязан к определенному оборудованию, обладают повышенными требованиями к буферу памяти и в целом являются более сложными, чем другие графические процессоры».
Поэтому компания разработала гибридное решение. Идея, описанная в патентной заявке, подразумевает сочетание выделенного аппаратного обеспечения и существующих шейдерных блоков, работающих совместно с программным обеспечением для трассировки лучей в реальном времени без указанных выше недостатков.
Еще раз отметим, что данная заявка была подана полтора года назад до выхода ускорителей Nvidia GeForce RTX на архитектуре Turing. В настоящий момент неизвестно продолжает ли AMD идти указанным путем или работает над новой системой трассировки лучей.
С другой стороны, со стороны «красной» команды уже звучали критические заявления о выделенных RT-ядрах в видеокартах. Компания скорее бы предпочла использовать универсальные решения для предоставления большей гибкости. (тем более с учетом выпуска AMD графических ускорителей не только для персональных ПК, но еще для игровых консолей — прим. авт.).
Через неделю состоится выход долгожданных видеокарт Radeon RX 5700 на базе 7-нм чипов Navi. Как известно, они не имеют ни программных, ни аппаратных оптимизаций для ускорения трассировки лучей в реальном времени. Таким образом, ответ AMD в данной сфере мы увидим не ранее середины-конца следующего года.
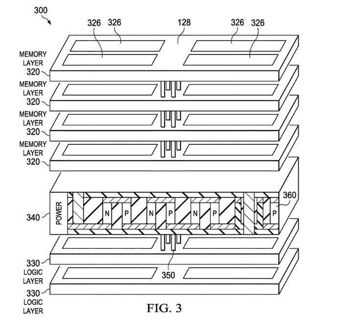
Помимо этого, AMD подала заявку на патент для системы охлаждения массивов трехмерной памяти с помощью термоэлектрических преобразователей (Thermoelectric Cooler – TEC), известных также как элементы Пельтье. Так как данные элементы являются полупроводниковыми устройствами, они могут быть легко интегрированы в необходимые микросхемы и управляться с помощью имеющейся логики.

Процесс, запатентованный AMD, в основном описывает, как вставить TEC между памятью и логическими устройствами и передавать тепло в обе стороны, в зависимости от требований к охлаждению. Для справки, элементы Пельтье в зависимости от направления тока способны проводить тепло либо в одном, либо в другом направлении.

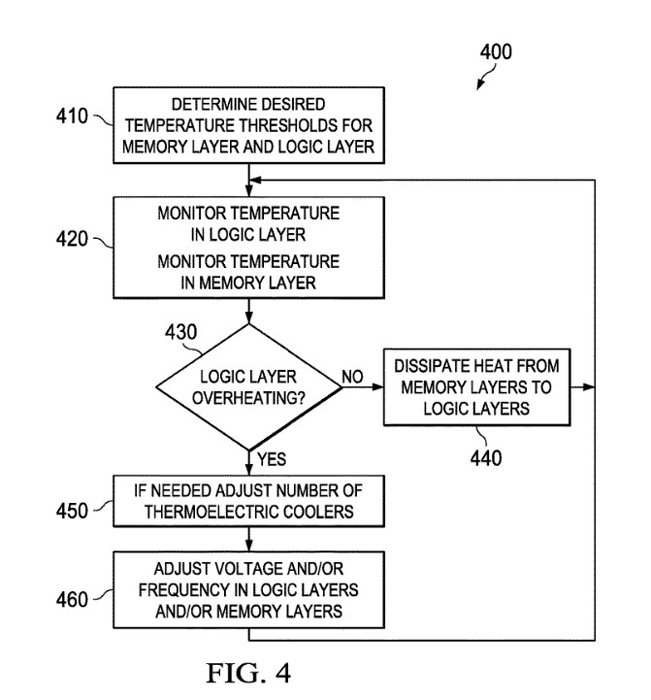
На приведенной блок-схеме алгоритма видно, что в логическом слое и в массиве памяти имеются специальные термодатчики. В режиме реального времени происходит мониторинг температур и постоянная «перекачка» тепла с горячей на холодную сторону.
Напоследок нужно отметить, что термоэлектрические преобразователи обладают рядом недостатков. Это невысокий коэффициент полезного действия, а также самостоятельное потребление электроэнергии и соответствующий нагрев элементов.
Источники:
Tom's Hardware
TechPowerUp